
ZFTQ-NA連續逆流折管式提取回收機是集自動進料、自動衡量進液、逆流管式提取機、干渣壓榨及干渣出料于一體的全自動化成套裝置。該整套設備具有結構獨特體積小、提取率高、能耗低及維護成本低等優點。
二、使用范圍
ZFTQ-NA連續逆流折管式提取回收機是一種對天然產物(尤其對中藥材)中有效成分進行浸出的全新動態提取設備,與冷凝器等輔助設備配用,可同時滿足溶媒回收等工藝要求。特別適用于利用溶媒大規模萃取有效成份。
三、設備組成

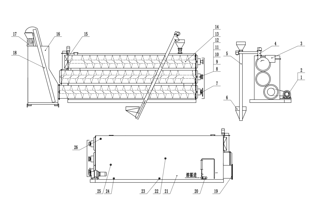
1 | 減速機 | 8 | 軸承座 | 15 | 外接下料口 | 22 | 夾套蒸汽進 |
2 | 齒輪傳動 | 9 | 軸承 | 16 | 水箱 | 23 | 冷凝水出 |
3 | 提取液出口 | 10 | 軸承壓蓋 | 17 | 壓榨機 | 24 | 預冷凝水出 |
4 | 進料輸送絞龍 | 11 | 軸套 | 18 | 輸送干渣機構 | 25 | 預熱蒸汽進 |
5 | 進料提升絞龍 | 12 | 密封件 | 19 | 法蘭 | 26 | 浸泡液出 |
6 | 原料進料倉 | 13 | 提取管 | 20 | 溶媒泵 |
|
|
7 | 傳動鏈輪 | 14 | 螺旋軸 | 21 | 保溫層 |
|
|
四、同行業設備性能對比
名稱/參數 | 多功能提取罐 | 逆流提取機 | 連續逆流折管式提取回收機 |
工作效率 | 間隙 | 連續不間斷 | 連續不間斷 |
特性 | 浸泡、攪拌 | 逆流直通 | 逆流、折流 |
操控 | 人工、半自動 | 全自動 | 全自動 |
設備布置空間 | — | 20-60米長 | <6米 |
提取率 | 一般 | 高于提取罐80% | 高于提取罐 |
液固占比 | >15:1 | >10:1 | >8:1 |
保溫方式 | 夾套 | 夾套 | 真空夾套 |
用工 | ≈6人 | ≈4人 | 2-3人 |
五、簡易流程說明

高郵市鑄鋒機械制造有限公司
聯系人:蔡先生
手 機:13805257618
電 話:0514-84683979,84681529
傳 真:0514-84681569
地 址:高郵市經濟開發區捷通路8號